1146.02.ES

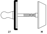
Sicherheitsrosette Ø50 x H mm für Außenseite, c-c 38 mm, für Profilzylinder.
H = Höhe: 8, 10, 12 mm. Abdeckrosette Ø52 x 4 mm
für Innenseite, keine sichtbaren Schrauben, c-c 38 mm.

  • Edelstahl matt gebürstet (AISI 304).
  • Lieferung als Set einschl. Patentschrauben M4x84 mm

Spezifikationen

Serie: Randi-Line®
Edelstahl matt gebürstet

Produktvarianten